京东方、晨丰科技、光峰科技公布多项LED专利

作者:照明协会

时间:2024-07-30

近日,京东方A、晨丰科技、光峰科技、奥普科技相继公布了最新的LED专利,涉及灯具成品和显示装置。

晨丰科技获得实用新型专利授权:“一种LED灯”
晨丰科技公布了新获得的一项实用新型专利,专利名为“一种LED灯”,专利申请号为CN202323281787.7,授权日为2024年7月9日。

图片

图片来源:国家知识产权局

该新型专利公开了一种LED灯,包括散热器和灯罩,散热器和灯罩的连接处通过限位组件实现两者的轴向防脱配合,连接处通过卡接组件实现两者的周向止转配合,且在连接处、散热器或灯罩上设置有挡件,以形成散热器和灯罩的径向配合。本实用新型通过限位组件、卡接组件和挡件分别实现散热器和灯罩的轴向、周向、径向限位配合,保证散热器和灯罩的稳固装配,挡件可以增加其开口连接处的强度,降低该区域受力发生形变的可能性,保证其在跌落测试中不会轻易发生形变;挡件的结构相对简单,且结构强度高,避免其受到外力作用后轻易发生形变,对于散热器和灯罩的连接处也起到增加结构强度的作用;挡件的设置便于散热器和灯罩的快速装配,降低两者的装配难度。
据悉,今年以来晨丰科技新获得专利授权5个,较去年同期增加了400%。结合公司2023年年报财务数据,2023年公司在研发方面投入了4630.79万元,同比增0.86%。

京东方A获得发明专利授权:“一种光学指纹识别结构及其制作方法、显示装置”
京东方A公布了新获得的一项发明专利,专利名为“一种光学指纹识别结构及其制作方法、显示装置”,专利申请号为CN202011373469.1,授权日为2024年7月26日。

图片

图片来源:国家知识产权局

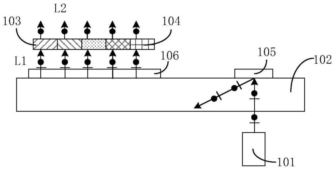
该专利的光学指纹识别结构包括显示区和感应区,感应区包括第二TFT、PIN光电二极管和电容器,第二TFT包括源极、漏极、有源区、第一金属部以及第二金属部;PIN光电二极管包括N型掺杂区、P型掺杂区、本征区、第三金属部、第四金属部,其中P型掺杂区与源极电连接;电容器包括第五金属部,作为电容器的第一极板,第五金属部在基板上的正投影覆盖第二金属部和第三金属部在基板上的正投影,第二金属部和第三金属部作为电容器的第二极板。该光学指纹识别结构在实现指纹识别功能的同时,将PIN光电二极管横向设置,有效提高该结构的集成度。
数据显示,京东方A2024年新获得专利授权2248个,较去年同期增加了37.97%。值得注意的是7月30日京东方A发布了25个显示领域的发明专利授权。结合公司2023年年报财务数据,2023年公司在研发方面投入了113.2亿元,同比增1.97%。

光峰科技获得实用新型专利授权:“显示装置及抬头显示系统”
光峰科技新获得一项实用新型专利授权,专利名为“显示装置及抬头显示系统”,专利申请号为CN202323054046.5,授权日为2024年7月26日。

图片

图片来源:国家知识产权局

该专利公开了一种显示装置及抬头显示系统,涉及光学成像技术领域,显示装置包括:光源、光波导和第一渐变波片,光源发出的图像光线经光波导传播后耦出得到初始偏振态不同的第一光线,第一渐变波片设于第一光线的传播路径上,用于使第一光线从第一渐变波片上不同的第一转换区域上出射后由初始偏振态均转换为目标偏振态得到第二光线。因此,通过设置具有多个第一转换区域的第一渐变波片,使第一渐变波片能够基于入射光线的偏振态来针对性地改变入射光线的偏振态,确保了从显示装置出射的光线为具有单一的偏振态的光线。进一步地,使应用该显示装置的抬头显示系统由于入射玻璃的光线具有特定的目标偏振态,提高反射效率,进而提高了显示效率。
据了解,今年以来光峰科技新获得专利授权79个,较去年同期减少了28.83%。结合公司2023年年报财务数据,2023年公司在研发方面投入了2.81亿元,同比增7.18%。

奥普科技获得发明专利授权:“一种具有可转动灯座的灯具”
奥普科技公布了新获得的一项发明专利,专利名为“一种具有可转动灯座的灯具”,专利申请号为CN201811390407.4,授权日为2024年7月26日。

图片

图片来源:国家知识产权局

该发明专利公开了一种具有可转动灯座的灯具,属于灯具技术领域,目的在于克服现有灯具对方形灯头匹配性差的问题。灯具包括固定盖、压环、卡环,压环可拆卸的固定在固定盖上,压环将卡环限位在压环和固定盖之间,压环和固定盖之间具有供卡环活动的空间,卡环能够相对压环转动,卡环和压环之间或卡环和固定盖之间设有第一弹性件,灯座卡接在卡环上,固定盖上安装有电路板,灯座抵在电路板上。本发明所提供的一种具有可转动灯座的灯具,由于卡环能够相对压环转动,即固定在卡环上的灯座能够相对压环和固定盖转动,这样能够通过旋转灯座使方灯的位置适应房间的布局或灯具的整体外形,灯具对方形灯头匹配性显著提高。
据了解,今年以来奥普科技新获得专利授权124个,较去年同期增加了55%。结合公司2023年年报财务数据,2023年公司在研发方面投入了1.01亿元,同比增9.36%。


知识产权保护工作站

深圳市照明与显示工程行业协会知识产权保护工作站主要承接产业知识产权的培训、申请以及维权等工作,同时组建专业的专利顾问团队,帮助企业挖掘高质量高价值的核心技术以进行发明专利的申请。


如需知识产权方面的服务,请联系:

知识产权保护工作站负责人

刘颖19925354113(微信同号)

图片

扫码添加工作站专利顾问



0755-29988025

Hello!

微信扫一扫

微信扫一扫

享一对一咨询